并联电容器由两个彼此平行放置的金属板组成。平行板电容器是最简单和最基本的电容器,几乎所有电容器都是平行板电容器的变体。
实时特性两级板的电荷相当于两级电路板内部。
当电容器工作时,其两个金属板的相对表面始终充有相同数量的不同电荷+ Q和-Q。
通常,任何一个板的电荷的绝对值称为电容器。电荷量,用Q表示;两个板之间存在一定的电位差,用U表示.C = Q / U
理论分析表明,当两块板的平行板电容器都填充相同的介质时,之间的关系是电容C和板的正面对面区域S和板之间的距离d是平行板电容器的两个极。
当板之间存在真空时,没有相对介电常数ε(相对介电常数)。从公式可知,电容C与ε和S成正比(即,ε越大,S越大,C越大); d越大,C越小。
如果两个极板之间存在均匀的电场并且电场强度记为E,则:1。U = Ed 2. Q = UC(其中Q是电容器承载的电荷量,U是电压两块板之间)。
公司: 深圳市捷比信实业有限公司
电话: 0755-29796190
邮箱: momo@jepsun.com
产品经理: 聂经理
QQ: 2215069954
地址: 深圳市宝安区翻身路富源大厦1栋7楼

更多资讯
获取最新公司新闻和行业资料。
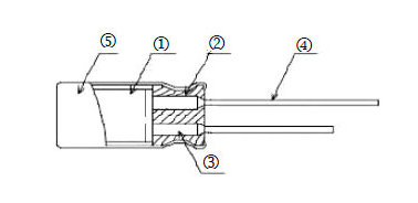
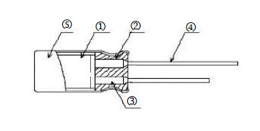
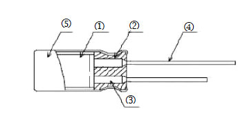
- 电容器两极板间加金属板 在电容器中,两极板之间加上金属板可以提高电容器的等效串联电阻(RCE),这会降低电容器的电容量。通常情况下,金属板的作用是提高电容器的耐压水平,并增加电容器的等效串联电阻。当电容器两极板之间加上金属板时,...
- 电容器加金属板和绝缘板 在一个电容器中,金属板和绝缘板的作用是不同的。金属板:金属板是电容器中的一个导体,它允许电流通过。当电流通过金属板时,会在金属板上产生电压降,这反过来又会在金属板上产生电流。这种电流称为局部电流,它在...
- 金属板低欧姆电流检测芯片电阻器的技术演进与行业发展趋势 从材料到封装:金属板低欧姆电阻器的技术突破近年来,随着半导体工艺与材料科学的进步,金属板低欧姆电流检测芯片电阻器在性能、可靠性与成本控制方面实现了跨越式发展。其技术演进正深刻影响着汽车电子产业链的升级...
- 深入解读Viking-ARG电阻精度:如何实现行业领先水平? Viking-ARG电阻精度技术深度剖析在众多高性能电阻产品中,Viking-ARG以其令人信服的精度表现脱颖而出。本文将从材料、工艺、测试三个维度,深入解析其为何能在精密电子领域保持领先地位。1. 精选合金材料奠定基础Viking-ARG使用...
- 汽车级高压薄膜扁平电阻器的应用与优势 在现代汽车工业中,随着电动汽车和混合动力汽车技术的快速发展,对电子元件的要求也越来越高。特别是对于高压薄膜扁平电阻器而言,其在确保汽车电气系统稳定性和安全性方面扮演着至关重要的角色。这类电阻器具有诸多...
- CSRA系列MELF电阻器:高性能与成本效益的平衡之选 CSRA系列MELF电阻器:兼顾性能与经济性的理想选择在众多电子应用中,如何在保证性能的同时控制成本,是设计工程师面临的核心挑战。CSRA系列MELF电阻器正是为此而生——它在保持良好电气特性的同时,提供了更具竞争力的价格...
- 运行状态中的电容器为什么会爆炸 电容器是电力系统中常见的元件之一,其主要功能是储能和过滤电流。但是,有时候我们会听到一些关于电容器爆炸的新闻,这让人感到困惑和担忧。那么,为什么运行状态中的电容器会爆炸呢?然而,正是由于电容器的特殊结...
- 新投运电容器组应进行合闸冲击试验 在交流电路中,如果电容器充电后再次闭合,电容器可能承受两倍以上的额定电压(峰值),对电容器有害。 同时也会产生较大的冲击电流,导致熔断或断路器跳闸。 因此,电容器组必须在每次开启后放电,待电荷消失后...
- 金属膜精密电阻器CSR系列:性能与成本平衡的理想之选 CSR系列金属膜精密电阻器的技术亮点与市场定位相较于高端的CSRV系列,金属膜精密电阻器中的CSR系列在保持高精度的同时,更注重性价比与批量生产的适用性。该系列广泛应用于消费类电子、智能家电、物联网终端设备等领域,...
- 光颉Viking CL-S系列电感器:高稳定性与低成本的平衡之选 光颉Viking CL-S系列电感器全面解析光颉Viking CL-S系列是一款面向中端市场的贴片电感器产品线,以优异的性价比和稳定的性能表现赢得市场青睐。该系列产品特别适合对成本敏感但又需保证基本电气性能的应用场景。技术特点与性...
- 汽车级金属薄膜片式电阻器:平衡性能与成本的理想选择 汽车级金属薄膜片式电阻器的技术特点解析相较于金属箔片式电阻器,金属薄膜片式电阻器在保持良好电气性能的同时,具备更优的成本效益,是当前主流车载电子设计中的常用元件。1. 精密制造工艺保障性能采用真空溅射技术...
- 新投运电容器组应进行几次合闸冲击试验 在交流电路中,如果电容器再次充电并闭合,电容器可能承受两倍以上的额定电压(峰值),这对电容器有害。同时还会产生较大的冲击电流,导致熔体熔断或断路器跳闸。因此,电容器组必须在每次打开后放电,然后在电荷消失后...
- CNF厚膜片式电阻器阵列(平面型)在高精度电路中的应用解析 CNF厚膜片式电阻器阵列(平面型)技术优势与应用前景随着电子设备向小型化、集成化和高可靠性方向发展,对高性能无源元件的需求日益增长。其中,CNF厚膜片式电阻器阵列(平面型)因其卓越的稳定性、高精度和良好的温度...
- MU金属板超低阻值电阻器的应用与优势 在现代电子设备和电路设计中,电阻器是不可或缺的元件之一,而MU金属板超低阻值电阻器因其独特的性能特点,在众多应用场景中脱颖而出。这种电阻器以其卓越的性能、稳定的电气特性以及紧凑的设计赢得了广泛的关注。MU金...
- 汽车金属板低欧姆电流检测芯片电阻器 在现代汽车设计中,精确和可靠的电流检测技术是至关重要的,尤其是在电池管理系统、电动车辆驱动系统以及各种控制单元中。金属板低欧姆电流检测芯片电阻器是一种专门为此目的设计的产品,它通过其低阻值特性有效地减...
- 汽车级高压薄膜扁平电阻器:高性能与可靠性的完美结合 汽车级高压薄膜扁平电阻器的核心优势随着智能汽车和电动化趋势的加速发展,车载电子系统对元器件的性能要求日益提高。汽车级高压薄膜扁平电阻器作为关键被动元件之一,凭借其优异的电气性能、耐高温特性以及高可靠性...
- PSoC平台如何赋能电流感应贴片电阻器实现智能化信号处理 背景:从被动传感迈向主动感知传统的电流检测依赖于外部运算放大器与MCU组合,存在布线复杂、延迟高、成本高等问题。而借助PSoC平台,电流感应贴片电阻器(CS系列)得以嵌入到一个高度集成的智能节点中,实现“传感+处理...
- 汽车用金属板功率低欧姆电流检测芯片电阻器 在现代汽车电子系统中,准确和可靠的电流检测对于保证系统的安全性和效率至关重要。金属板功率低欧姆电流检测芯片电阻器是一种专为汽车应用设计的高精度、高可靠性电流检测元件。这种电阻器具有非常低的阻值,可以有...
- 原装行货霍尼韦尔SZL-WLC-A行程开关:高性能与可靠性的结合 原装行货霍尼韦尔SZL-WLC-A行程开关是一种高品质的控制设备,广泛应用于各种工业自动化领域。该行程开关具有高精度、耐用性强的特点,能够满足在恶劣环境下的工作需求。其设计紧凑,安装简便,适用于多种机械装置的位置...
- 低阻值金属板电阻器在工业自动化中的关键作用 低阻值金属板电阻器如何赋能工业自动化系统随着工业4.0的推进,智能制造对电气控制系统的响应速度、测量精度和运行效率提出了更高要求。低阻值金属板电阻器以其独特的物理特性和工程优势,在工业自动化领域扮演着越来...